КРЫШНЫЕ ВЕНТИЛЯТОРЫ
Общее описание
Крышные вентиляторы Systemair предназначены для монтажа в системах вытяжной вентиляции. Вентиляторы DVS/DVSI/DHS/DVN/DVNI/DVC оснащены алюминиевым корпусом, что делает их пригодными для эксплуатации в условиях морского побережья. Рама-основание и защитная решетка изготовлены из оцинкованной листовой стали с защитным порошковым покрытием.
Рабочее колесо вентиляторов типоразмером от 190 до 355 изготовлено из полиамида РА6, у вентиляторов типоразмеров от 400 до 710 рабочее колесо выполнено из алюминия. Вентиляторы типоразмеров 800 и 900 оснащены стальным сварным рабочим колесом с защитным порошковым покрытием.
Вентиляторы серии TFSR/TFSK и TOE/TOV имеют корпус из оцинкованной стали. Корпус TFSR/TFSK окрашен черной, или
кирпично-красной порошковой краской.
TOE/TOV - только черной. Рабочее колесо изготовлено из пластика.
Модельный ряд
Крышные вентиляторы Systemair серий DVS, DVSI, DVC, DVN, DVNI типоразмеров до 900 в стандартном исполнении подают воздух в вертикальном направлении;
серий TFSR/TFSK, DHS типоразмеров до 710 - в горизонтальном направлении.
Вентиляторы с вертикальной подачей воздуха дополнительно могут быть оснащены звукоизолирующим коробом с изоляцией толщиной 50 мм из минеральной ваты (плотность 60 кг/м3). Все крышные вентиляторы оснащены самоочищающимися рабочими колесами
с лопатками, загнутыми назад. Широкий выбор дополнительных принадлежностей позволяет укомплектовать вентилятор в соответствии с любыми проектными требованиями.
Электродвигатели
Вентиляторы серий DVS/DVSI/DHS и TFSR/TFSK стандартного исполнения оснащены электродвигателями с внешним ротором, скорость вращения которых регулируется путем изменения напряже-
ния питания. На вентиляторах серии DVN установлены электродвигатели, соответствующие стандарту IEC. Скорость вращения электродвигателей регулируется путем изменения напряжения питания.
Крышные вентиляторы серии DVEX оснащены электродвигателями с внешним ротором, соответствующими требованиям ATEX.
Крышные вентиляторы серии DVC оснащены электронно коммутируемым двигателем (ЕС), скорость вращения которого плавно регулируется автоматически системой управления (при работе с постоянным внешним статическим давлением), либо вручную с помощью внешнего управляющего сигнала. Для защиты
крышных вентиляторов используются либо термоконтакты (кроме вентиляторов серий DVN/DVNI типоразмеров 800 и 900), либо терморезисторы с положительным температурным коэффициентом.
Вентиляторы серий DVS/DHS/DVN/DVSI/DVNI типоразмером выше 355 оснащаются встроенными термоконтактами с внешними выводами, которые подключаются к внешнему устройству защиты
электродвигателя.
МОДЕЛИ TFSR/TFSK
Рекомендации по применению
Вытяжные системы вентиляции небольших помещений, таких как коттеджи, одно- и многоквартирные дома, офисы, детские сады и т.д. Вентиляторы не требуют технического обслуживания и
надежны в работе.
Конструкция
Корпус вентиляторов изготовлен из листовой оцинкованной стали, покрашенный в три различные цвета – черный, коричневый и серебристый.
Двигатель
Модели TFSR и TFSK оборудованы рабочим колесом, изготовленным из полиамида, с назад загнутыми лопатками и двигателем с внешним
ротором. Двигатель с рабочим колесом закреплен на откидной крышке, что позволяет легко проводить осмотр и обслуживание. Для защиты от перегрева двигатель вентиляторов снабжен встроенной термозащитой.
Регулирование скорости
Скорость вентиляторов можно регулировать с помощью бесступенчатого тиристора или 5-ти ступенчатого трансформатора.
Подключение
Вентиляторы снабжены кабелем для быстрого подключения к
электросети через соединительную коробку; также модели имеют выключатель на корпусе.
Монтаж
Модель TFSK подсоединяется к квадратному воздуховоду или крышным коробам типов TG, FDS, крышным шумоглушителем типа SSD (принадлежности). Модель TFSR подсоединяется к монтажной раме FRT или крышному коробу TOB/TOS (принадлежности).
Технические характеристики
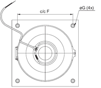
Размеры
A=119
B=144
C=284
E=321
c/c F=245
G=9
| Воздухообмен | 310.00 м<sup>3</sup>/час |
| Мощность | 0.02 кВт |
| Воздуховод | Круглый |
| Минимальный уровень шума | 23.00 дБ |
| Максимальный уровень шума | 31.00 дБ |
| Питание | 230/50/1 в/Гц/Ф |
| Сила тока | 0.13 А |
| Частота вращения | 1965 об/мин |
| Масса | 2.50 кг |
| Класс защиты | IP 44 |