КОМПАКТНАЯ УСТАНОВКА SL, приточная установка для монтажа между перекрытиями
Приточные установки: фильтр F5, водяной нагреватель, водяной охладитель, без автоматики.
Удобство использования
Корпус имеет тепло- и звукоизоляцию толщиной 30 мм. Давление падения внутри системы незначительно, благодаря большим активным поверхностям всех конструктивных элементов, через которые проходит воздушный поток. Стенки корпуса гладкие и герметичные как внутри, так и снаружи
Всегда оптимально подходящий вентилятор
Устройство предлагается в двух вариантах.
В одном используется создающий очень сильное давление радиальный вентилятор с загнутыми вперед лопатками, в другом - ЕTALINE, канальный вентилятор в круглом корпусе с очень высоким КПД.
В полном сборе, готовый к подключению
Блок регулировки встроен в устройство и полностью электрически смонтирован На внешнем пульте управления можно выставлять 3 скорости вентилятора и температуру приточного воздуха или температуру в помещении. Также существует компонент, предназначенный для контроля за фильтром.
Обзор основных функций регулировки
Дистанционное управление
Функциональный пульт управления красивой формы с цифровым табло, показывающим скорость вентиляции и температуру.
Встроенное управление
Встроенный в боковую стенку корпуса компактный блок регулировки легко доступен. Все разъемы установлены.
Высокое качество конструкции и обработки
Изготовленный полностью из листовой стали корпус исключительно тепло- и звуконепроницаем и сконструирован с большой любовью к деталям Встроен плотный клапанный затвор. Зубчатые колеса защищены от загрязнения.
Возможен выбор стороны подключения
Нагревательный регистр и охладительный контур можно повернуть прямо на месте установки, благодаря чему возможно подключение с обеих сторон.
Примечание
Максимальный расход воздуха указан при 200 Па
Мощность нагрева при условиях: вода 80°C/60°C, вход воздух -25°C.
Мощность водяного охладителя при условиях: вода 6°C/12°C,
вход. воздух +32°C, 40%.
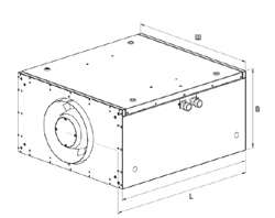
Размеры
Ш - 967
B - 467
L - 1020
Д1 - 68
Д1 = Еtaline
L2 - Короткий диффузор
L3 = Звуковой диффузор
| Мощность на обогрев | 86.00 кВт |
| Воздухообмен | 3800.00 м<sup>3</sup>/час |
| Мощность на охлаждение | 23.00 кВт |
| Нагреватель | водяной |
| Питание | 230/50/1 в/Гц/Ф |
| Габариты | 967x467x1020 мм |
| Масса | 138.00 кг |